下载APP
    扫描二维码
    下载潮新闻客户端
    读报

    揭秘!谁在爆炒注册制主板新股?真相大跌眼镜

    潮新闻 记者 刘芫信 王燕平2023-04-10 11:40全网传播量23.3万
    00:00
    00:00

    注册制主板新股上市首日,10只个股遭遇爆炒,其中三只个股涨幅翻倍,涨幅最大的为中电港,涨幅超两倍。

    实际上,今天上市的新股,有的基本面很一般,如陕西能源、江盐集团都属于传统行业,二级市场估值不高,但今天照样遭遇爆炒。 

    01.jpg

    (CFP供图)

    深市主板新股:游资炒作迹象明显

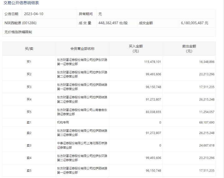
    杭州游资占据4只新股买入首位

    盘后的交易公开信息,炒作这些新股的大多是游资和散户。如深交所主板上市新股中,陕西能源这只大盘股,当天买入前五位的都是东方财富旗下的营业部。而东方财富主要向广大互联网用户提供证券交易服务,以散户为主,而且股民数量众多。而在卖出榜上,排在第一位的是一家机构席位,其他也是东方财富旗下营业部。

    02.png

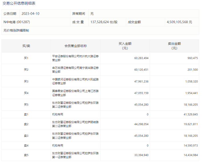
    中电港买入前五位同样都是游资和散户为主,买入金额均在4500万元以上,其中买入前两位的平安证券杭州杭大路营业部、申万宏源南宁英华路营业部买入金额均超过6000万元,买入榜第三位的银河证券杭州凤起路营业部买入近4800万元;而在卖出榜上,两家机构席位分别卖出4153万元和1459万元。总体而言,中电港的买盘力量超过卖盘力量。

    03.png

    登康口腔、南矿集团买卖前五位均为游资和散户,跟中电港一样,这两只新股买入第一位的均为平安证券杭州杭大路营业部。另一只深市主板新股海森药业买入第一位同样是平安证券杭州杭大路营业部,买入金额1300多万元;卖出第一位的则是机构席位,卖出金额3000多万元。看来,平安证券杭州杭大路营业部的炒新热情特别高涨。 

    04.jpg

    (CFP供图)

    沪市主板新股:

    散户大举扫货,机构集体高抛

    沪市离板新股中,N中信金买入榜上,同样清一色的散户大本营:东方财富拉萨团结路第二营业部买入4975万元,东方财富拉萨团结路第一营业部买入4833万元,东方财富拉萨东环路第一营业部买入4787万元,东方财富拉萨东环路第二营业部买入4738万元,东方财富山南香曲东路营业部买入4486万元。卖出榜上,则是清一色的机构,五家机构共卖出3.96亿元。 

    05.png

    N江盐的情况差不多,东方财富拉萨东环路第二营业部买入2467万元,东方财富拉萨团结路第二营业部买入2349万元,东方财富拉萨团结路第一营业部买入2195万元,东方财富拉萨东环路第一营业部买入2105万元,东方财富山南香曲东路营业部买入2101万元。卖出榜上,五家机构共卖出1.46亿元。 

    06.png

    N柏诚成交龙虎榜上,东方财富拉萨团结路第二营业部买入3842万元,东方财富拉萨东环路第二营业部买入2881万元,东方财富拉萨团结路第一营业部买入2815万元,东方财富山南香曲东路营业部买入2639万元,东方财富拉萨东环路第一营业部买入2457万元。卖出榜上,五家机构共卖出1.53亿元。

     

    07.png

    N常青成交龙虎榜上,银河证券杭州凤起路营业部买入2232万元,东方财富拉萨东环路第二营业部买入2106万元,东方财富山南香曲东路营业部买入2047万元,东方财富拉萨团结路第二营业部买入1812万元,东方财富拉萨东环路第一营业部买入1759万元。卖出榜上,五家机构共卖出6584万元(卖出第一位是光大证券证券投资部)。

    N中重成交龙虎榜显示,东方财富拉萨东环路第二营业部买入2563万元,东方财富拉萨东环路第一营业部买入2418万元,东方财富拉萨团结路第二营业部买入2234万元,东方财富山南香曲东路营业部买入2106万 元,东方财富拉萨团结路第一营业部买入1964万元。卖出榜上,五家机构共卖出1.9亿元。

    “转载请注明出处”

    责任编辑:刘峰